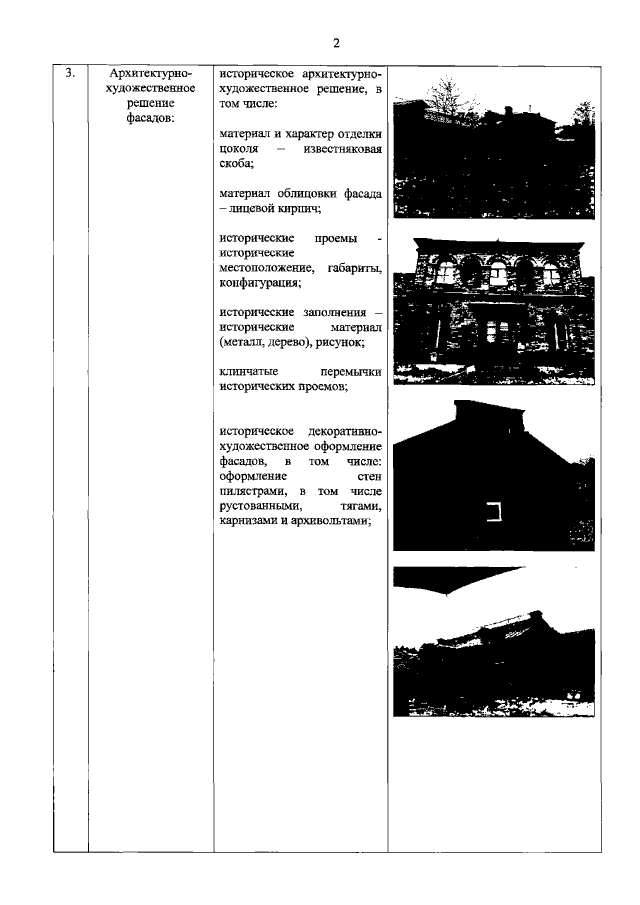
Распоряжение Комитета по государственному контролю, использованию и охране памятников истории и культуры Санкт-Петербурга от 11.11.2021 № 292-рп
"Об утверждении предмета охраны объекта культурного наследия федерального значения "Оранжерея"
"Об утверждении предмета охраны объекта культурного наследия федерального значения "Оранжерея"
Номер опубликования: 7801202111190007
Дата опубликования:
19.11.2021
