Официальное опубликование правовых актов
ОФИЦИАЛЬНОЕ ОПУБЛИКОВАНИЕ
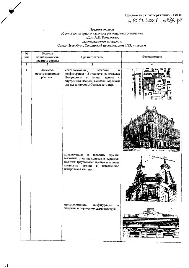
Распоряжение Комитета по государственному контролю, использованию и охране памятников истории и культуры Санкт-Петербурга от 10.11.2021 № 286-рп
"Об утверждении предмета охраны объекта культурного наследия регионального значения "Дом А.П. Романова"
Номер опубликования: 7801202111150010
Дата опубликования: 15.11.2021
Страница №2 из 24:
Увеличить