Официальное опубликование правовых актов
ОФИЦИАЛЬНОЕ ОПУБЛИКОВАНИЕ
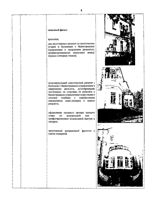
Распоряжение Комитета по государственному контролю, использованию и охране памятников истории и культуры Санкт-Петербурга от 27.10.2021 № 270-рп
"Об утверждении предмета охраны выявленного объекта культурного наследия "Дом Л.В. Калина (с садом)"
Номер опубликования: 7801202111030002
Дата опубликования: 03.11.2021
Страница №5 из 5:
Увеличить