Официальное опубликование правовых актов
ОФИЦИАЛЬНОЕ ОПУБЛИКОВАНИЕ
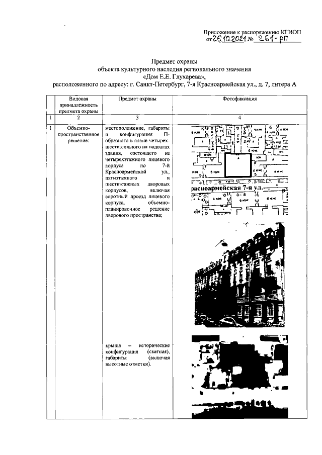
Распоряжение Комитета по государственному контролю, использованию и охране памятников истории и культуры Санкт-Петербурга от 25.10.2021 № 261-рп
"Об утверждении предмета охраны объекта культурного наследия регионального значения "Дом Е.Е. Глухарева"
Номер опубликования: 7801202110300029
Дата опубликования: 30.10.2021
Страница №2 из 12:
Увеличить