Распоряжение Комитета по государственному контролю, использованию и охране памятников истории и культуры Санкт-Петербурга от 25.10.2021 № 265-рп
"Об утверждении предмета охраны объекта культурного наследия регионального значения "Дом Н.Семенова (статс-секретариата Великого княжества Финляндского)"
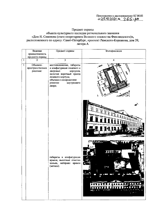
"Об утверждении предмета охраны объекта культурного наследия регионального значения "Дом Н.Семенова (статс-секретариата Великого княжества Финляндского)"
Номер опубликования: 7801202110300024
Дата опубликования:
30.10.2021
