Официальное опубликование правовых актов
ОФИЦИАЛЬНОЕ ОПУБЛИКОВАНИЕ
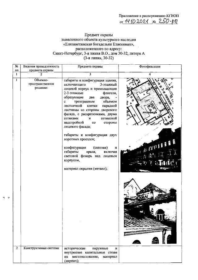
Распоряжение Комитета по государственному контролю, использованию и охране памятников истории и культуры Санкт-Петербурга от 14.10.2021 № 250-рп
"Об утверждении предмета охраны выявленного объекта культурного наследия "Елизаветинская богадельня Елисеевых"
Номер опубликования: 7801202110230005
Дата опубликования: 23.10.2021
Страница №2 из 19:
Увеличить