Официальное опубликование правовых актов
ОФИЦИАЛЬНОЕ ОПУБЛИКОВАНИЕ
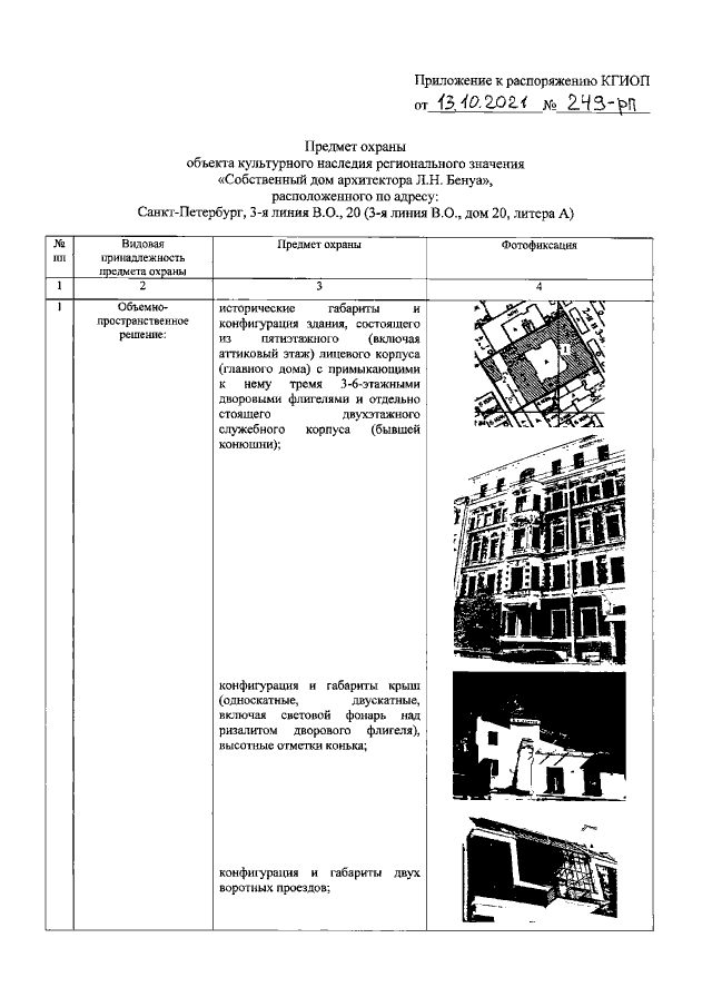
Распоряжение Комитета по государственному контролю, использованию и охране памятников истории и культуры Санкт-Петербурга от 13.10.2021 № 249-рп
"Об утверждении предмета охраны объекта культурного наследия регионального значения "Собственный дом архитектора Л.Н. Бенуа"
Номер опубликования: 7801202110150011
Дата опубликования: 15.10.2021
Страница №2 из 36:
Увеличить