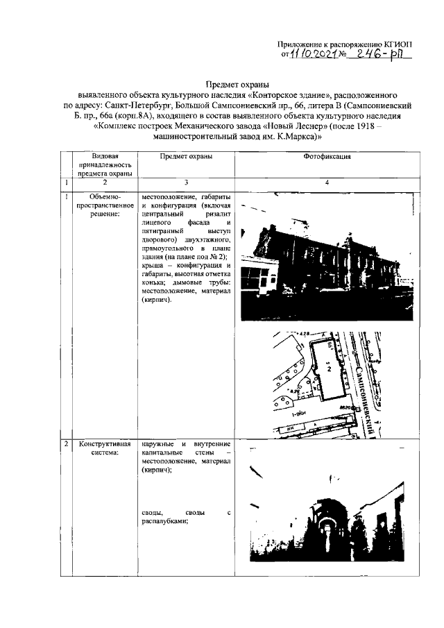
Распоряжение Комитета по государственному контролю, использованию и охране памятников истории и культуры Санкт-Петербурга от 11.10.2021 № 246-рп
"Об утверждении предмета охраны выявленного объекта культурного наследия "Конторское здание", входящего в состав выявленного объекта культурного наследия "Комплекс построек Механического завода "Новый Леснер" (после 1918 - машиностроительный завод им. К. Маркса)"
"Об утверждении предмета охраны выявленного объекта культурного наследия "Конторское здание", входящего в состав выявленного объекта культурного наследия "Комплекс построек Механического завода "Новый Леснер" (после 1918 - машиностроительный завод им. К. Маркса)"
Номер опубликования: 7801202110150003
Дата опубликования:
15.10.2021
