Официальное опубликование правовых актов
ОФИЦИАЛЬНОЕ ОПУБЛИКОВАНИЕ
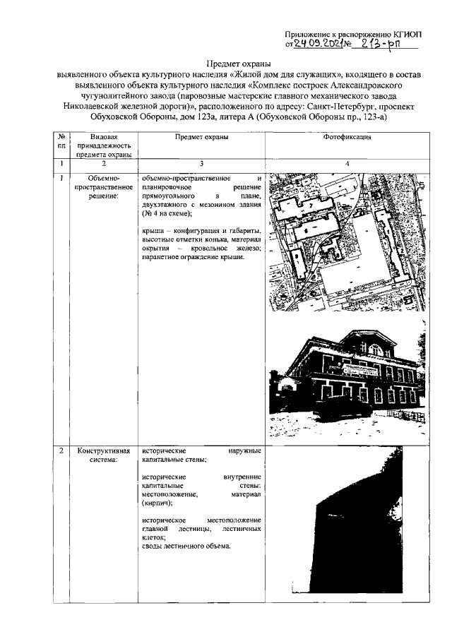
Распоряжение Комитета по государственному контролю, использованию и охране памятников истории и культуры Санкт-Петербурга от 24.09.2021 № 213-рп
"Об утверждении предмета охраны выявленного объекта культурного наследия "Жилой дом для служащих", входящего в состав выявленного объекта культурного наследия "Комплекс построек Александровского чугунолитейного завода (паровозные мастерские главного механического завода Николаевской железной дороги)"
Номер опубликования: 7801202109290022
Дата опубликования: 29.09.2021
Страница №2 из 4:
Увеличить