Официальное опубликование правовых актов
ОФИЦИАЛЬНОЕ ОПУБЛИКОВАНИЕ
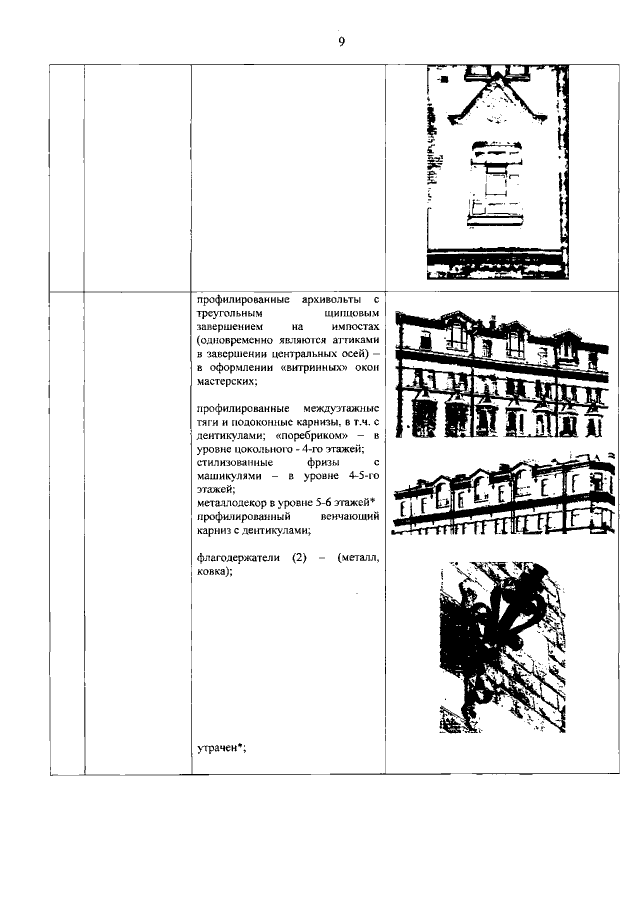
Распоряжение Комитета по государственному контролю, использованию и охране памятников истории и культуры Санкт-Петербурга от 20.09.2021 № 212-рп
"Об утверждении предмета охраны объекта культурного наследия регионального значения "Доходный дом Шретера"
Номер опубликования: 7801202109270006
Дата опубликования: 27.09.2021
Страница №10 из 17:
Увеличить