Официальное опубликование правовых актов
ОФИЦИАЛЬНОЕ ОПУБЛИКОВАНИЕ
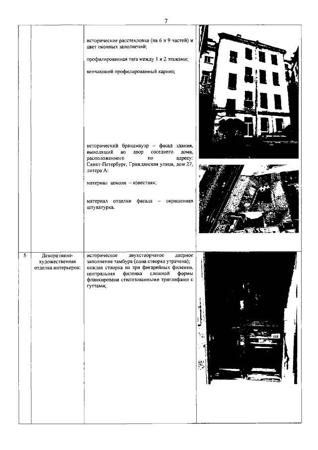
Распоряжение Комитета по государственному контролю, использованию и охране памятников истории и культуры Санкт-Петербурга от 20.09.2021 № 202-рп
"Об утверждении предмета охраны выявленного объекта культурного наследия "Дом Разевиха"
Номер опубликования: 7801202109220017
Дата опубликования: 22.09.2021
Страница №8 из 9:
Увеличить