Официальное опубликование правовых актов
ОФИЦИАЛЬНОЕ ОПУБЛИКОВАНИЕ
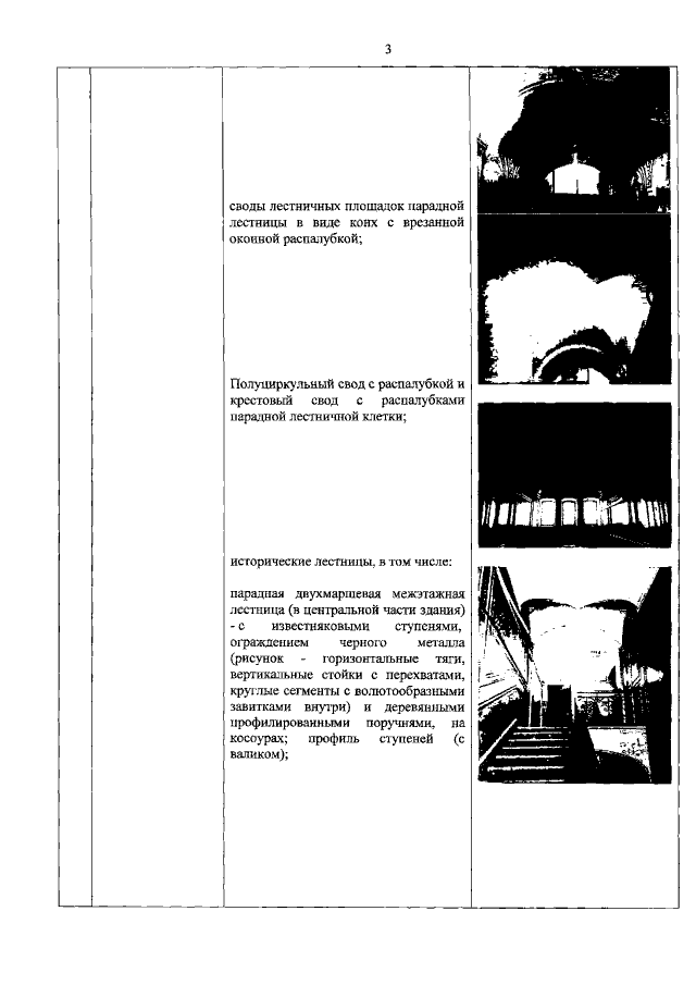
Распоряжение Комитета по государственному контролю, использованию и охране памятников истории и культуры Санкт-Петербурга от 20.09.2021 № 198-рп
"Об утверждении предмета охраны объекта культурного наследия регионального значения "Дом Н.Н. Никонова"
Номер опубликования: 7801202109220016
Дата опубликования: 22.09.2021
Страница №4 из 19:
Увеличить