Официальное опубликование правовых актов
ОФИЦИАЛЬНОЕ ОПУБЛИКОВАНИЕ
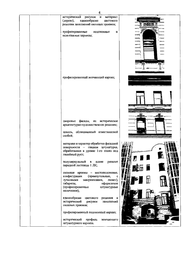
Распоряжение Комитета по государственному контролю, использованию и охране памятников истории и культуры Санкт-Петербурга от 31.08.2021 № 174-рп
"Об утверждении предмета охраны выявленного объекта культурного наследия "Дома Р.И. Бернштейна"
Номер опубликования: 7801202109020005
Дата опубликования: 02.09.2021
Страница №5 из 25:
Увеличить