Распоряжение Комитета по государственному контролю, использованию и охране памятников истории и культуры Санкт-Петербурга от 27.08.2021 № 173-рп
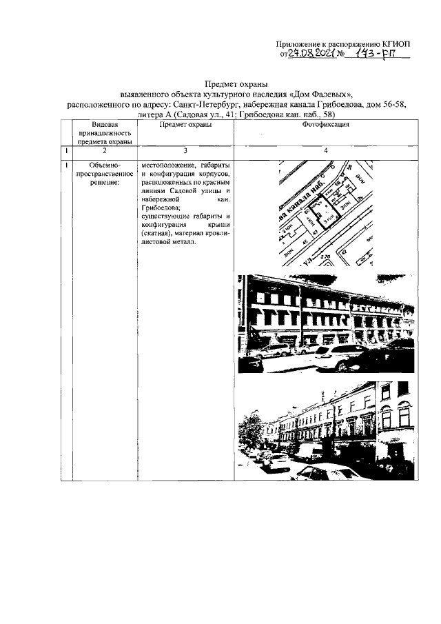
"Об утверждении предмета охраны выявленного объекта культурного наследия "Дом Фалевых"
"Об утверждении предмета охраны выявленного объекта культурного наследия "Дом Фалевых"
Номер опубликования: 7801202109010003
Дата опубликования:
01.09.2021
