Официальное опубликование правовых актов
ОФИЦИАЛЬНОЕ ОПУБЛИКОВАНИЕ
Распоряжение Комитета по государственному контролю, использованию и охране памятников истории и культуры Санкт-Петербурга от 19.08.2021 № 146-рп
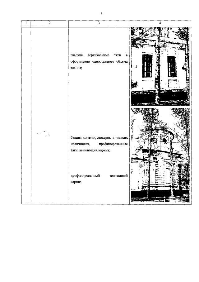
"Об утверждении предмета охраны объекта культурного наследия федерального значения "Корпус с башней (гауптвахта)"
Номер опубликования: 7801202108250008
Дата опубликования: 25.08.2021
Страница №4 из 4:
Увеличить