Официальное опубликование правовых актов
ОФИЦИАЛЬНОЕ ОПУБЛИКОВАНИЕ
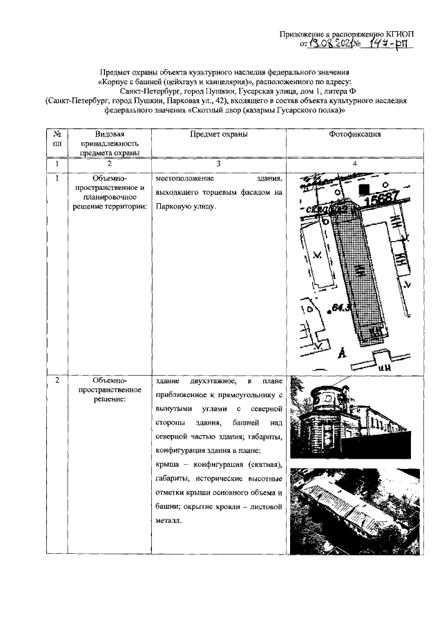
Распоряжение Комитета по государственному контролю, использованию и охране памятников истории и культуры Санкт-Петербурга от 19.08.2021 № 147-рп
"Об утверждении предмета охраны объекта культурного наследия федерального значения "Корпус с башней (цейхгауз и канцелярия)"
Номер опубликования: 7801202108250007
Дата опубликования: 25.08.2021
Страница №2 из 4:
Увеличить