Официальное опубликование правовых актов
ОФИЦИАЛЬНОЕ ОПУБЛИКОВАНИЕ
Распоряжение Комитета по государственному контролю, использованию и охране памятников истории и культуры Санкт-Петербурга от 02.08.2021 № 118-рп
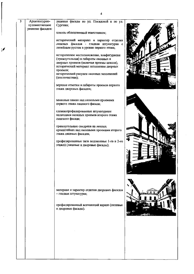
"Об утверждении предмета охраны объекта культурного наследия регионального значения "Комплекс жилых домов по ул. Урицкого"
Номер опубликования: 7801202108060002
Дата опубликования: 06.08.2021
Страница №5 из 9:
Увеличить