Официальное опубликование правовых актов
ОФИЦИАЛЬНОЕ ОПУБЛИКОВАНИЕ
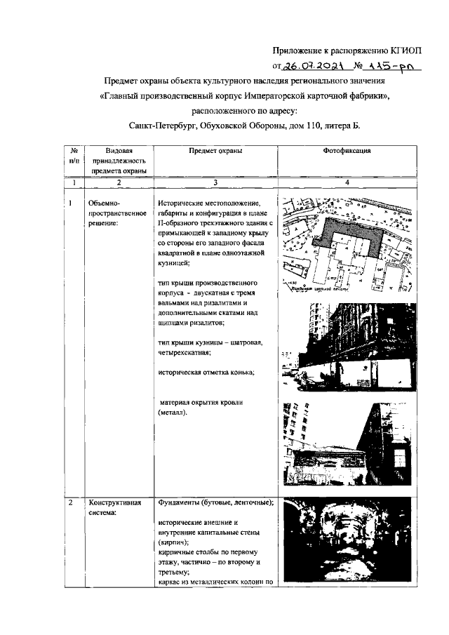
Распоряжение Комитета по государственному контролю, использованию и охране памятников истории и культуры Санкт-Петербурга от 26.07.2021 № 115-рп
"Об утверждении предмета охраны объекта культурного наследия регионального значения "Главный производственный корпус Императорской карточной фабрики"
Номер опубликования: 7801202107290003
Дата опубликования: 29.07.2021
Страница №2 из 6:
Увеличить