Официальное опубликование правовых актов
ОФИЦИАЛЬНОЕ ОПУБЛИКОВАНИЕ
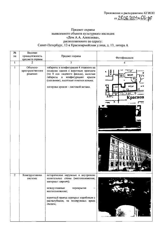
Распоряжение Комитета по государственному контролю, использованию и охране памятников истории и культуры Санкт-Петербурга от 25.06.2021 № 66-рп
"Об утверждении предмета охраны выявленного объекта культурного наследия "Дом А.А. Алексеева"
Номер опубликования: 7801202107020004
Дата опубликования: 02.07.2021
Страница №2 из 10:
Увеличить