Официальное опубликование правовых актов
ОФИЦИАЛЬНОЕ ОПУБЛИКОВАНИЕ
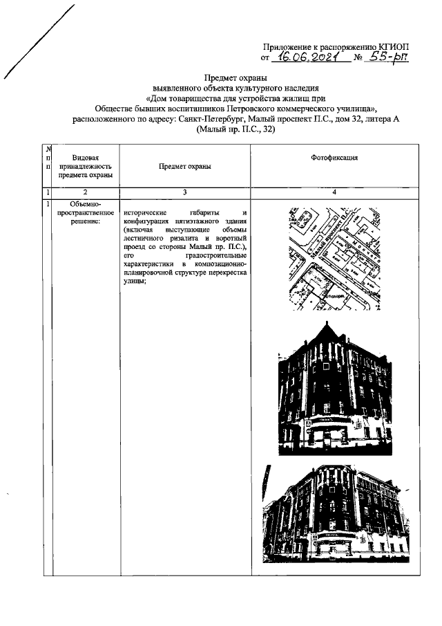
Распоряжение Комитета по государственному контролю, использованию и охране памятников истории и культуры Санкт-Петербурга от 16.06.2021 № 55-рп
"Об утверждении предмета охраны выявленного объекта культурного наследия "Дом товарищества для устройства жилищ при Обществе бывших воспитанников Петровского коммерческого училища"
Номер опубликования: 7801202106230010
Дата опубликования: 23.06.2021
Страница №2 из 16:
Увеличить