Распоряжение Комитета по государственному контролю, использованию и охране памятников истории и культуры Санкт-Петербурга от 15.06.2021 № 50-рп
"Об утверждении предмета охраны выявленного объекта культурного наследия "Служебное здание Кавалергардского полка"
"Об утверждении предмета охраны выявленного объекта культурного наследия "Служебное здание Кавалергардского полка"
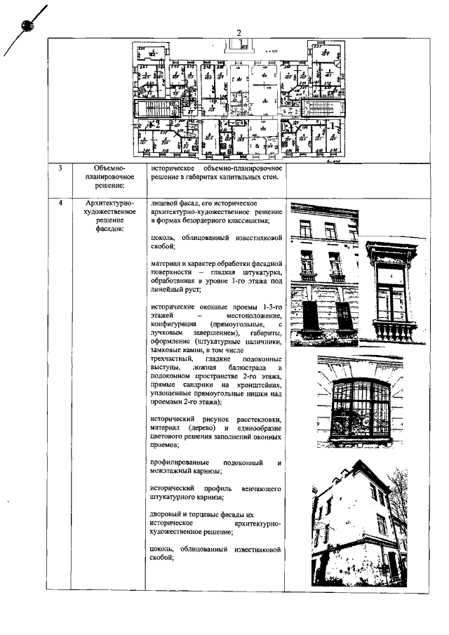
Номер опубликования: 7801202106200008
Дата опубликования:
20.06.2021
