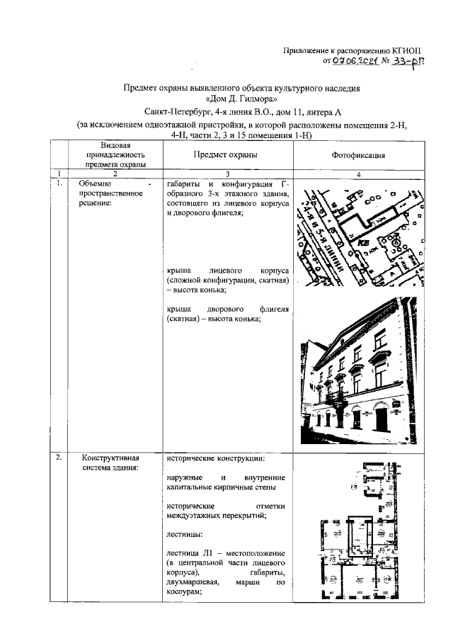
Распоряжение Комитета по государственному контролю, использованию и охране памятников истории и культуры Санкт-Петербурга от 07.06.2021 № 33-рп
"Об утверждении предмета охраны выявленного объекта культурного наследия "Дом Д. Гилмора"
"Об утверждении предмета охраны выявленного объекта культурного наследия "Дом Д. Гилмора"
Номер опубликования: 7801202106150009
Дата опубликования:
15.06.2021
