Официальное опубликование правовых актов
ОФИЦИАЛЬНОЕ ОПУБЛИКОВАНИЕ
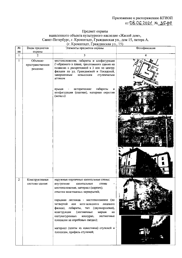
Распоряжение Комитета по государственному контролю, использованию и охране памятников истории и культуры Санкт-Петербурга от 08.06.2021 № 35-рп
"Об утверждении предмета охраны выявленного объекта культурного наследия "Жилой дом"
Номер опубликования: 7801202106150003
Дата опубликования: 15.06.2021
Страница №2 из 6:
Увеличить