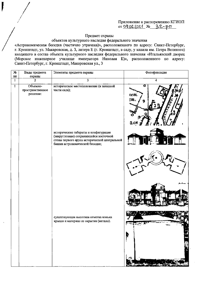
Распоряжение Комитета по государственному контролю, использованию и охране памятников истории и культуры Санкт-Петербурга от 07.06.2021 № 32-рп
"Об утверждении предмета охраны объекта культурного наследия федерального значения "Астрономическая беседка (частично утрачена)", входящего в состав объекта культурного наследия федерального значения "Итальянский дворец (Морское инженерное училище императора Николая II)"
"Об утверждении предмета охраны объекта культурного наследия федерального значения "Астрономическая беседка (частично утрачена)", входящего в состав объекта культурного наследия федерального значения "Итальянский дворец (Морское инженерное училище императора Николая II)"
Номер опубликования: 7801202106110005
Дата опубликования:
11.06.2021
