Официальное опубликование правовых актов
ОФИЦИАЛЬНОЕ ОПУБЛИКОВАНИЕ
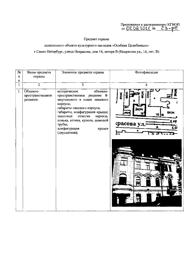
Распоряжение Комитета по государственному контролю, использованию и охране памятников истории и культуры Санкт-Петербурга от 02.06.2021 № 23-рп
"Об утверждении предмета охраны выявленного объекта культурного наследия "Особняк Целибеевых"
Номер опубликования: 7801202106070003
Дата опубликования: 07.06.2021
Страница №2 из 12:
Увеличить