Официальное опубликование правовых актов
ОФИЦИАЛЬНОЕ ОПУБЛИКОВАНИЕ
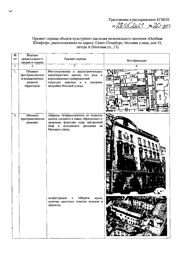
Распоряжение Комитета по государственному контролю, использованию и охране памятников истории и культуры Санкт-Петербурга от 28.05.2021 № 20-рп
"Об утверждении предмета охраны объекта культурного наследия регионального значения "Особняк Штифтер"
Номер опубликования: 7801202106040011
Дата опубликования: 04.06.2021
Страница №2 из 71:
Увеличить