Официальное опубликование правовых актов
ОФИЦИАЛЬНОЕ ОПУБЛИКОВАНИЕ
Распоряжение Комитета по государственному контролю, использованию и охране памятников истории и культуры Санкт-Петербурга от 23.04.2021 № 138-р
"Об утверждении предмета охраны объекта культурного наследия регионального значения "Квартиры, в которых в 1892-1897 гг. жил адмирал Макаров Степан Осипович"
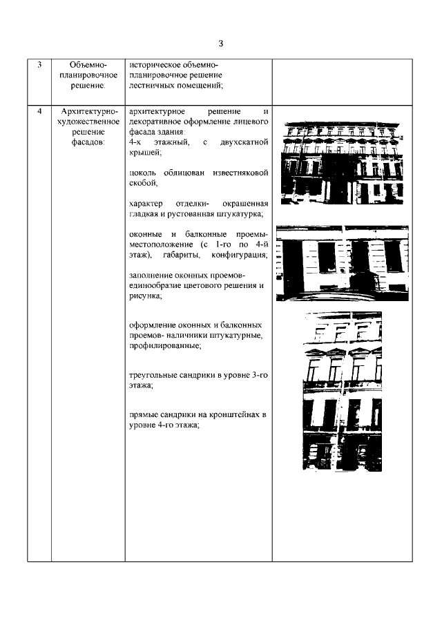
Номер опубликования: 7801202104300010
Дата опубликования: 30.04.2021
Страница №4 из 6:
Увеличить