Официальное опубликование правовых актов
ОФИЦИАЛЬНОЕ ОПУБЛИКОВАНИЕ
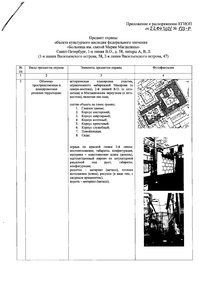
Распоряжение Комитета по государственному контролю, использованию и охране памятников истории и культуры Санкт-Петербурга от 22.04.2021 № 133-р
"Об утверждении предмета охраны объекта культурного наследия федерального значения "Больница им. святой Марии Магдалины"
Номер опубликования: 7801202104300008
Дата опубликования: 30.04.2021
Страница №2 из 21:
Увеличить