Официальное опубликование правовых актов
ОФИЦИАЛЬНОЕ ОПУБЛИКОВАНИЕ
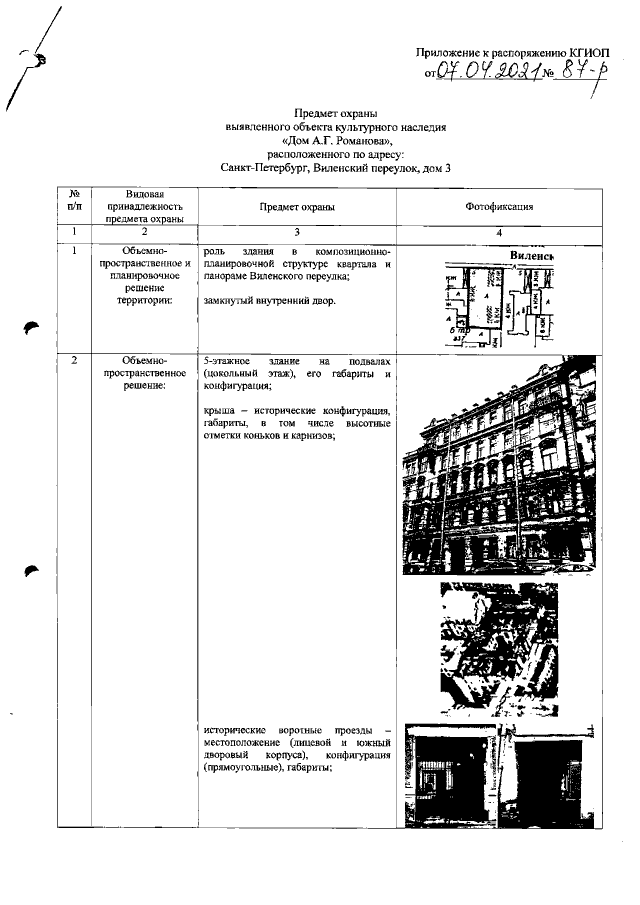
Распоряжение Комитета по государственному контролю, использованию и охране памятников истории и культуры Санкт-Петербурга от 07.04.2021 № 87-р
"Об утверждении предмета охраны выявленного объекта культурного наследия "Дом А.Г. Романова"
Номер опубликования: 7801202104140004
Дата опубликования: 14.04.2021
Страница №2 из 16:
Увеличить