Официальное опубликование правовых актов
ОФИЦИАЛЬНОЕ ОПУБЛИКОВАНИЕ
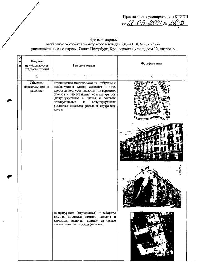
Распоряжение Комитета по государственному контролю, использованию и охране памятников истории и культуры Санкт-Петербурга от 12.03.2021 № 58-р
"Об утверждении предмета охраны выявленного объекта культурного наследия "Дом И.Д. Агафонова"
Номер опубликования: 7801202103180002
Дата опубликования: 18.03.2021
Страница №2 из 12:
Увеличить