Распоряжение Комитета по государственному контролю, использованию и охране памятников истории и культуры Санкт-Петербурга от 02.02.2021 № 7-р
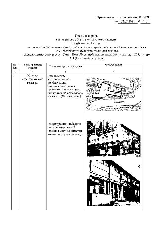
"Об утверждении предмета охраны выявленного объекта культурного наследия "Разбивочный плаз", входящего в состав выявленного объекта культурного наследия "Комплекс построек Адмиралтейского судостроительного завода"
"Об утверждении предмета охраны выявленного объекта культурного наследия "Разбивочный плаз", входящего в состав выявленного объекта культурного наследия "Комплекс построек Адмиралтейского судостроительного завода"
Номер опубликования: 7801202102050003
Дата опубликования:
05.02.2021
