Распоряжение Комитета по государственному контролю, использованию и охране памятников истории и культуры Санкт-Петербурга от 25.12.2020 № 522-р
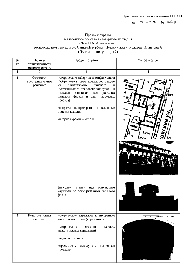
"Об утверждении предмета охраны выявленного объекта культурного наследия "Дом И.А. Афанасьева"
"Об утверждении предмета охраны выявленного объекта культурного наследия "Дом И.А. Афанасьева"
Номер опубликования: 7801202012310021
Дата опубликования:
31.12.2020
