Официальное опубликование правовых актов
ОФИЦИАЛЬНОЕ ОПУБЛИКОВАНИЕ
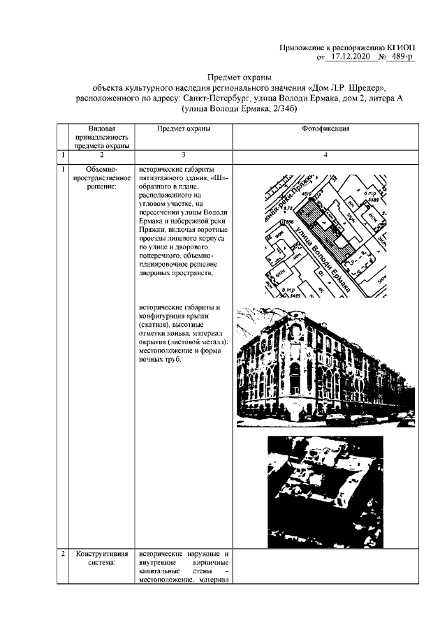
Распоряжение Комитета по государственному контролю, использованию и охране памятников истории и культуры Санкт-Петербурга от 17.12.2020 № 489-р
"Об утверждении предмета охраны объекта культурного наследия регионального значения "Дом Л.Р. Шредер"
Номер опубликования: 7801202012260007
Дата опубликования: 26.12.2020
Страница №2 из 12:
Увеличить