Официальное опубликование правовых актов
ОФИЦИАЛЬНОЕ ОПУБЛИКОВАНИЕ
Распоряжение Комитета по государственному контролю, использованию и охране памятников истории и культуры Санкт-Петербурга от 17.12.2020 № 483-р
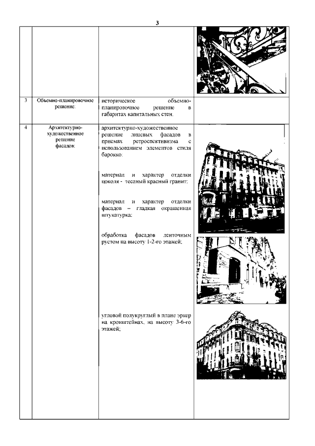
"Об утверждении предмета охраны выявленного объекта культурного наследия "Дом А.А. Смирнова"
Номер опубликования: 7801202012250010
Дата опубликования: 25.12.2020
Страница №4 из 17:
Увеличить