Официальное опубликование правовых актов
ОФИЦИАЛЬНОЕ ОПУБЛИКОВАНИЕ
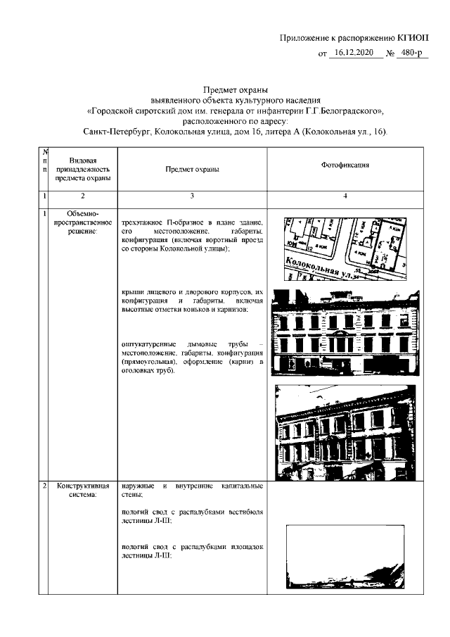
Распоряжение Комитета по государственному контролю, использованию и охране памятников истории и культуры Санкт-Петербурга от 16.12.2020 № 480-р
"Об утверждении предмета охраны выявленного объекта культурного наследия "Городской сиротский дом им. генерала от инфантерии Г.Г.Белоградского"
Номер опубликования: 7801202012250009
Дата опубликования: 25.12.2020
Страница №2 из 6:
Увеличить