Официальное опубликование правовых актов
ОФИЦИАЛЬНОЕ ОПУБЛИКОВАНИЕ
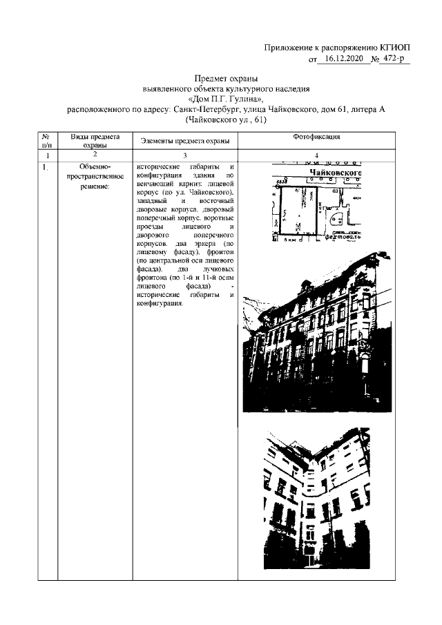
Распоряжение Комитета по государственному контролю, использованию и охране памятников истории и культуры Санкт-Петербурга от 16.12.2020 № 472-р
"Об утверждении предмета охраны выявленного объекта культурного наследия "Дом П.Г.Гулина"
Номер опубликования: 7801202012250006
Дата опубликования: 25.12.2020
Страница №2 из 19:
Увеличить