Официальное опубликование правовых актов
ОФИЦИАЛЬНОЕ ОПУБЛИКОВАНИЕ
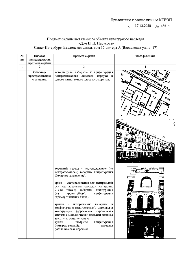
Распоряжение Комитета по государственному контролю, использованию и охране памятников истории и культуры Санкт-Петербурга от 17.12.2020 № 485-р
"Об утверждении предмета охраны выявленного объекта культурного наследия "Дом П.Н. Парусова"
Номер опубликования: 7801202012250003
Дата опубликования: 25.12.2020
Страница №2 из 18:
Увеличить