Официальное опубликование правовых актов
ОФИЦИАЛЬНОЕ ОПУБЛИКОВАНИЕ
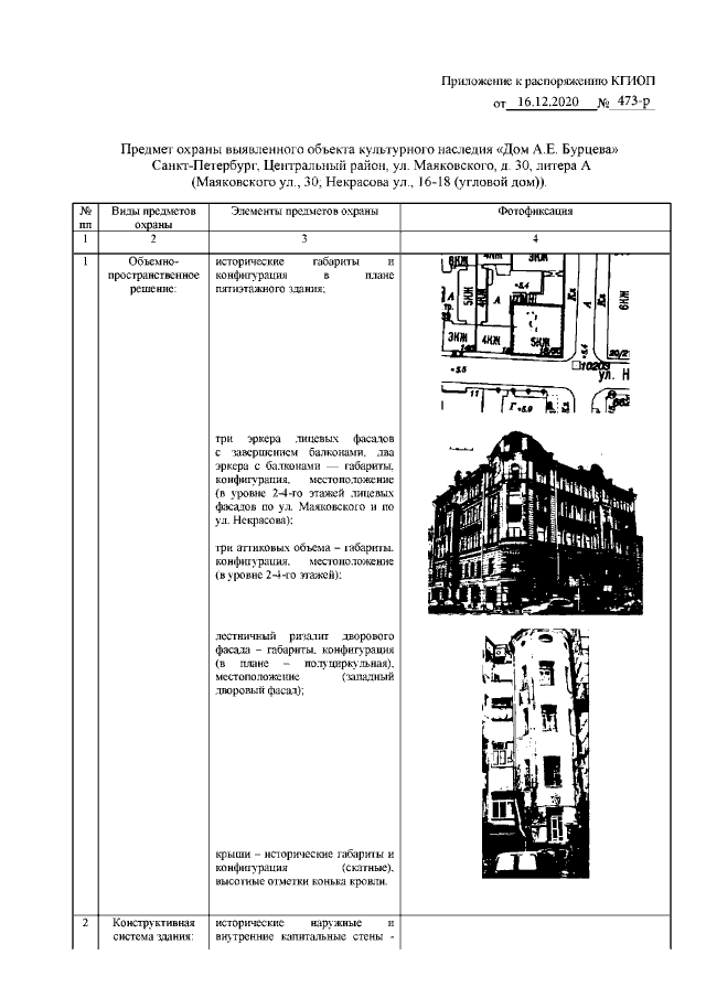
Распоряжение Комитета по государственному контролю, использованию и охране памятников истории и культуры Санкт-Петербурга от 16.12.2020 № 473-р
"Об утверждении предмета охраны выявленного объекта культурного наследия "Дом А.Е. Бурцева"
Номер опубликования: 7801202012240005
Дата опубликования: 24.12.2020
Страница №2 из 23:
Увеличить