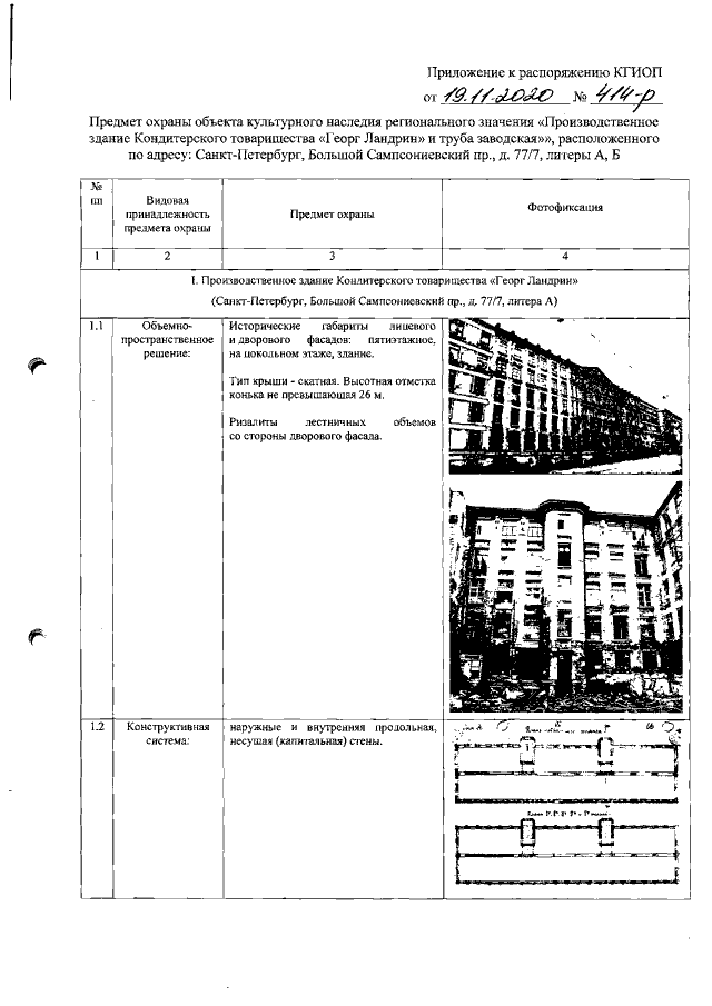
Распоряжение Комитета по государственному контролю, использованию и охране памятников истории и культуры Санкт-Петербурга от 19.11.2020 № 414-р
"Об утверждении предмета охраны объекта культурного наследия регионального значения "Производственное здание Кондитерского товарищества "Георг Ландрин" и труба заводская"
"Об утверждении предмета охраны объекта культурного наследия регионального значения "Производственное здание Кондитерского товарищества "Георг Ландрин" и труба заводская"
Номер опубликования: 7801202011270009
Дата опубликования:
27.11.2020
