Официальное опубликование правовых актов
ОФИЦИАЛЬНОЕ ОПУБЛИКОВАНИЕ
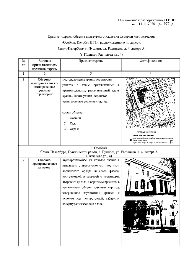
Распоряжение Комитета по государственному контролю, использованию и охране памятников истории и культуры Санкт-Петербурга от 11.11.2020 № 377-р
"Об утверждении предмета охраны объекта культурного наследия федерального значения "Особняк Кочубея В.П."
Номер опубликования: 7801202011190001
Дата опубликования: 19.11.2020
Страница №3 из 108:
Увеличить