Официальное опубликование правовых актов
ОФИЦИАЛЬНОЕ ОПУБЛИКОВАНИЕ
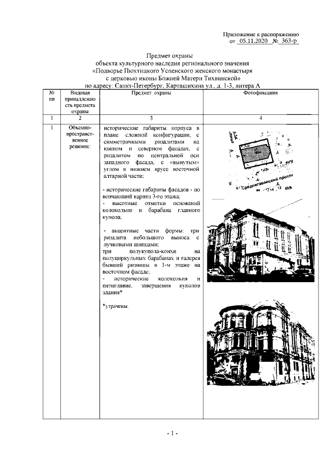
Распоряжение Комитета по государственному контролю, использованию и охране памятников истории и культуры Санкт-Петербурга от 05.11.2020 № 363-р
"Об утверждении предмета охраны объекта культурного наследия регионального значения "Подворье Пюхтицкого Успенского женского монастыря с церковью иконы Божией Матери Тихвинской"
Номер опубликования: 7801202011120002
Дата опубликования: 12.11.2020
Страница №2 из 11:
Увеличить