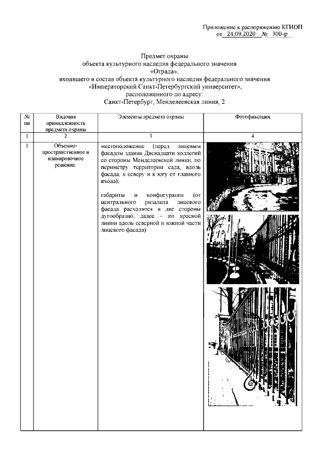
Распоряжение Комитета по государственному контролю, использованию и охране памятников истории и культуры Санкт-Петербурга от 24.09.2020 № 300-р
"Об утверждении предмета охраны объекта культурного наследия федерального значения "Ограда", входящего в состав объекта культурного наследия федерального значения "Императорский Санкт-Петербургский университет"
"Об утверждении предмета охраны объекта культурного наследия федерального значения "Ограда", входящего в состав объекта культурного наследия федерального значения "Императорский Санкт-Петербургский университет"
Номер опубликования: 7801202009280005
Дата опубликования:
28.09.2020
