Официальное опубликование правовых актов
ОФИЦИАЛЬНОЕ ОПУБЛИКОВАНИЕ
Постановление Правительства Санкт-Петербурга от 21.12.2023 № 1393
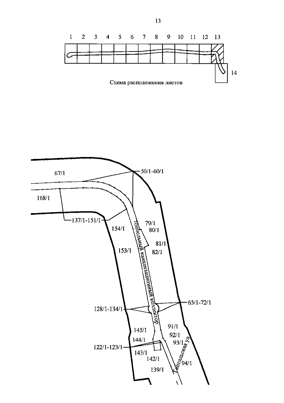
"Об утверждении проекта планировки с проектом межевания территории для размещения линейного объекта регионального значения "Тоннельный канализационный коллектор к о.Белый от шахты №43бис (Гапсальская ул., д.12) до ГНС ЦСА (о.Белый)"
Номер опубликования: 7800202312290005
Дата опубликования: 29.12.2023
Страница №29 из 59:
Увеличить