Официальное опубликование правовых актов
ОФИЦИАЛЬНОЕ ОПУБЛИКОВАНИЕ
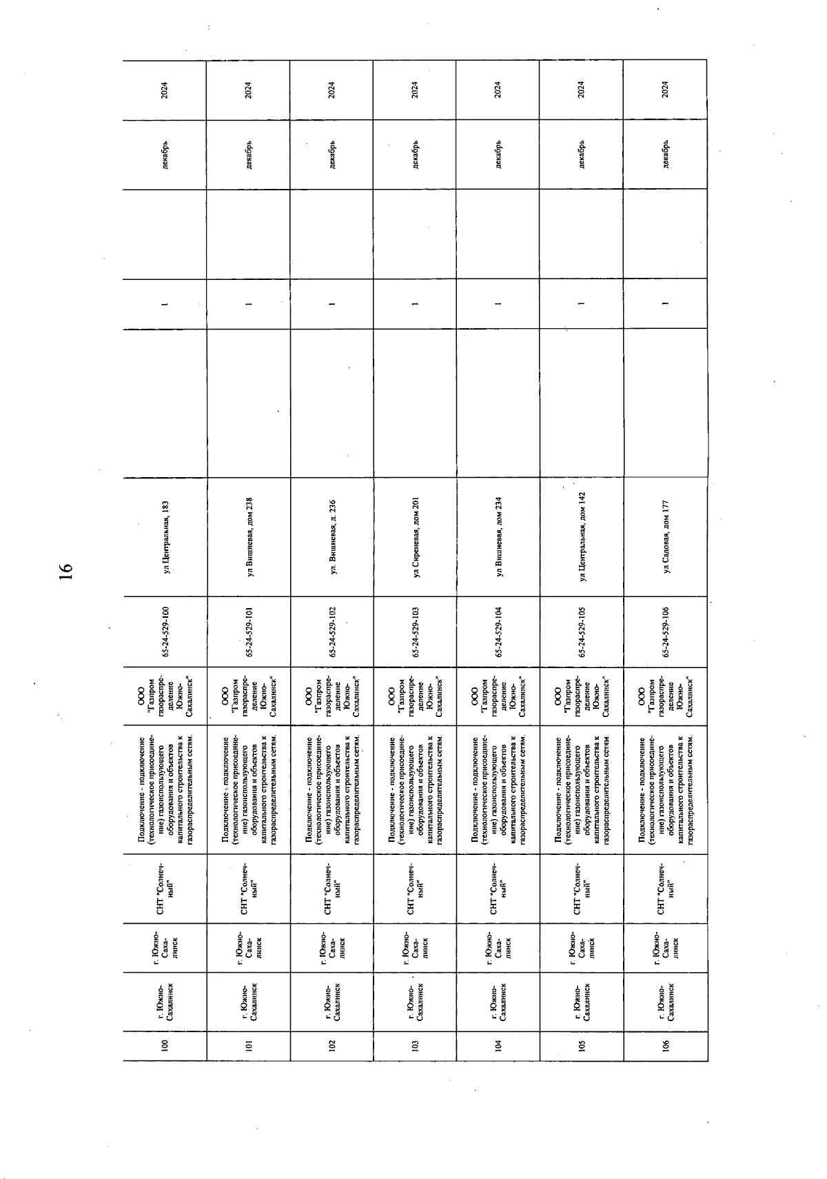
Постановление Правительства Сахалинской области от 28.12.2024 № 496
"О внесении изменений в региональную программу "Газификация жилищно-коммунального хозяйства, промышленных и иных организаций Сахалинской области на 2021 - 2030 годы", утвержденную постановлением Правительства Сахалинской области от 28.05.2021 № 196"
Номер опубликования: 6500202501040017
Дата опубликования: 04.01.2025
Страница №267 из 600:
Увеличить