Официальное опубликование правовых актов
ОФИЦИАЛЬНОЕ ОПУБЛИКОВАНИЕ
Приказ Управления государственной охраны объектов культурного наследия Самарской области от 10.02.2023 № 46
"Об исключении выявленного объекта культурного наследия из Перечня выявленных объектов культурного наследия Самарской области, включении его в единый государственный реестр объектов культурного наследия (памятников истории и культуры) народов Российской Федерации, утверждении границ территорий, режима использования территории и предмета охраны объекта культурного наследия"
(Зарегистрирован 10.02.2023 № УГООКН 2346)
Номер опубликования: 6301202302130016
Дата опубликования: 13.02.2023
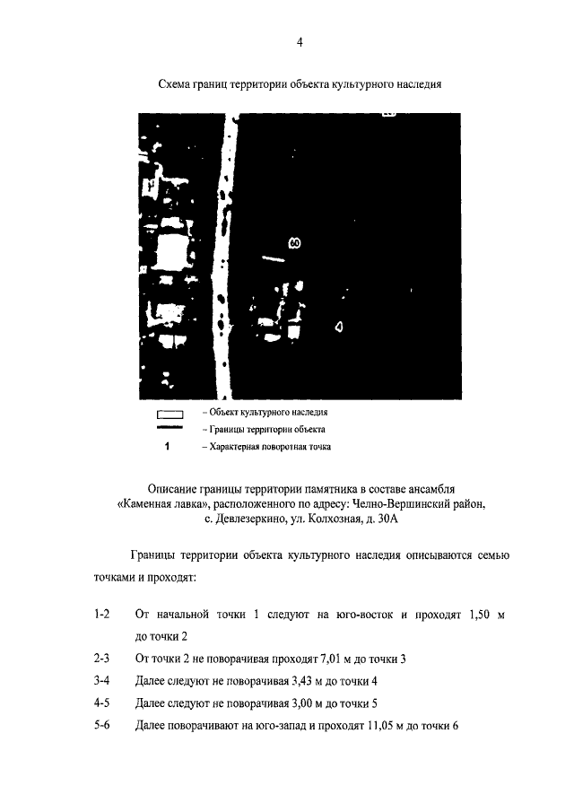
Страница №9 из 14:
Увеличить