Официальное опубликование правовых актов
ОФИЦИАЛЬНОЕ ОПУБЛИКОВАНИЕ
Постановление Правительства Ростовской области от 22.08.2022 № 703
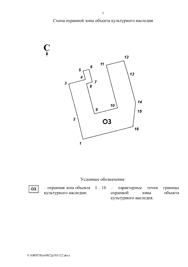
"Об установлении зон охраны объекта культурного наследия регионального значения "Дом Г.К. Бахчисарайцева" и утверждении требований к градостроительным регламентам в границах территорий данных зон"
Номер опубликования: 6100202208230009
Дата опубликования: 23.08.2022
Страница №5 из 11:
Увеличить