Официальное опубликование правовых актов
ОФИЦИАЛЬНОЕ ОПУБЛИКОВАНИЕ
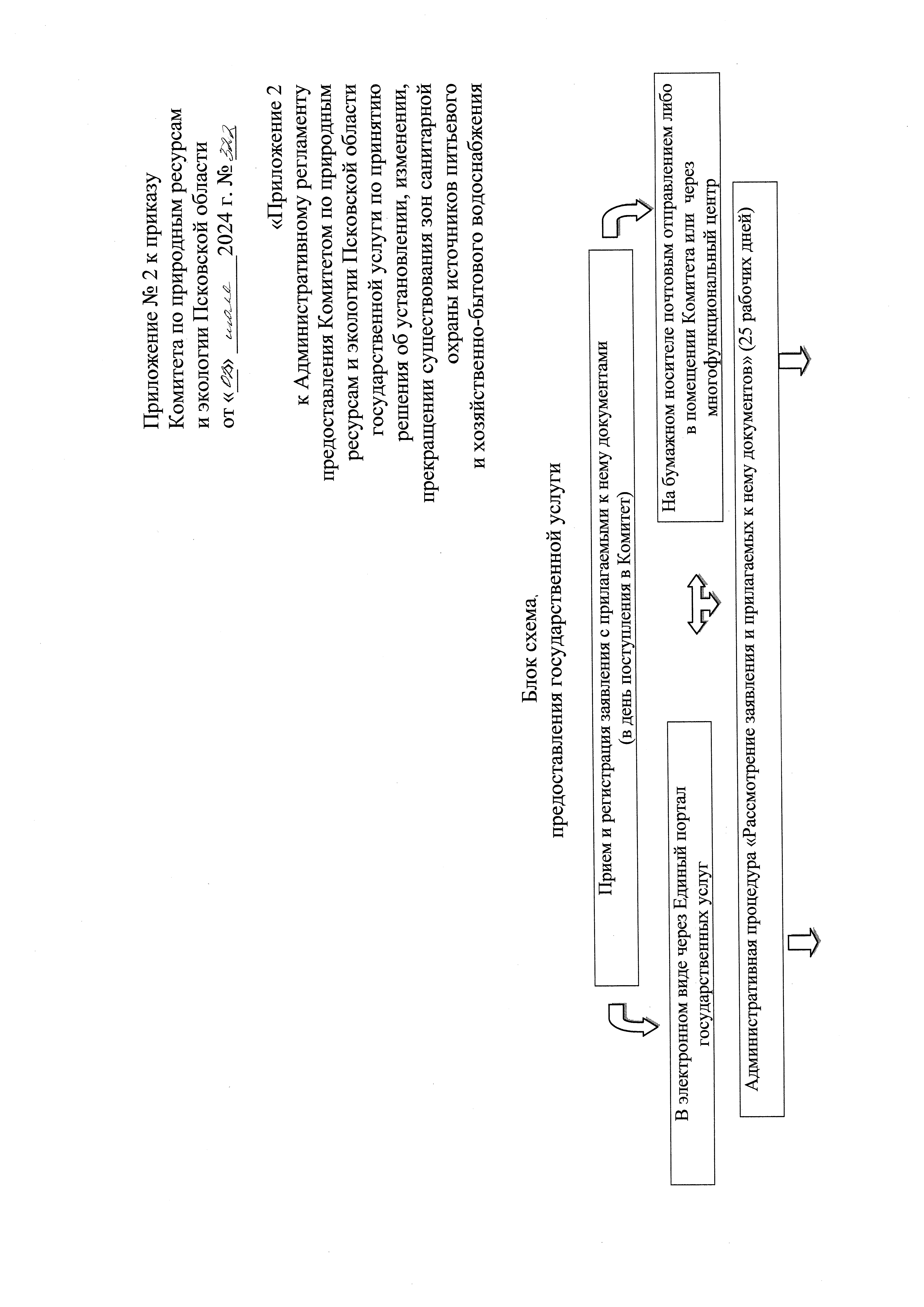
Приказ Комитета по природным ресурсам и экологии Псковской области от 02.07.2024 № 322
"О внесении изменений в Административный регламент предоставления Комитетом по природным ресурсам и экологии Псковской области государственной услуги по принятию решения об установлении, изменении, прекращении существования зон санитарной охраны источников питьевого и хозяйственно-бытового водоснабжения, утвержденный приказом Комитета по природным ресурсам и экологии Псковской области от 25 июня 2021 г. № 317"
(Зарегистрирован 03.07.2024 № 1142)
Номер опубликования: 6001202407080004
Дата опубликования: 08.07.2024
Страница №6 из 8: