Официальное опубликование правовых актов
ОФИЦИАЛЬНОЕ ОПУБЛИКОВАНИЕ
Приказ Инспекции государственной охраны объектов культурного наследия Оренбургской области от 15.01.2026 № 01-33-3
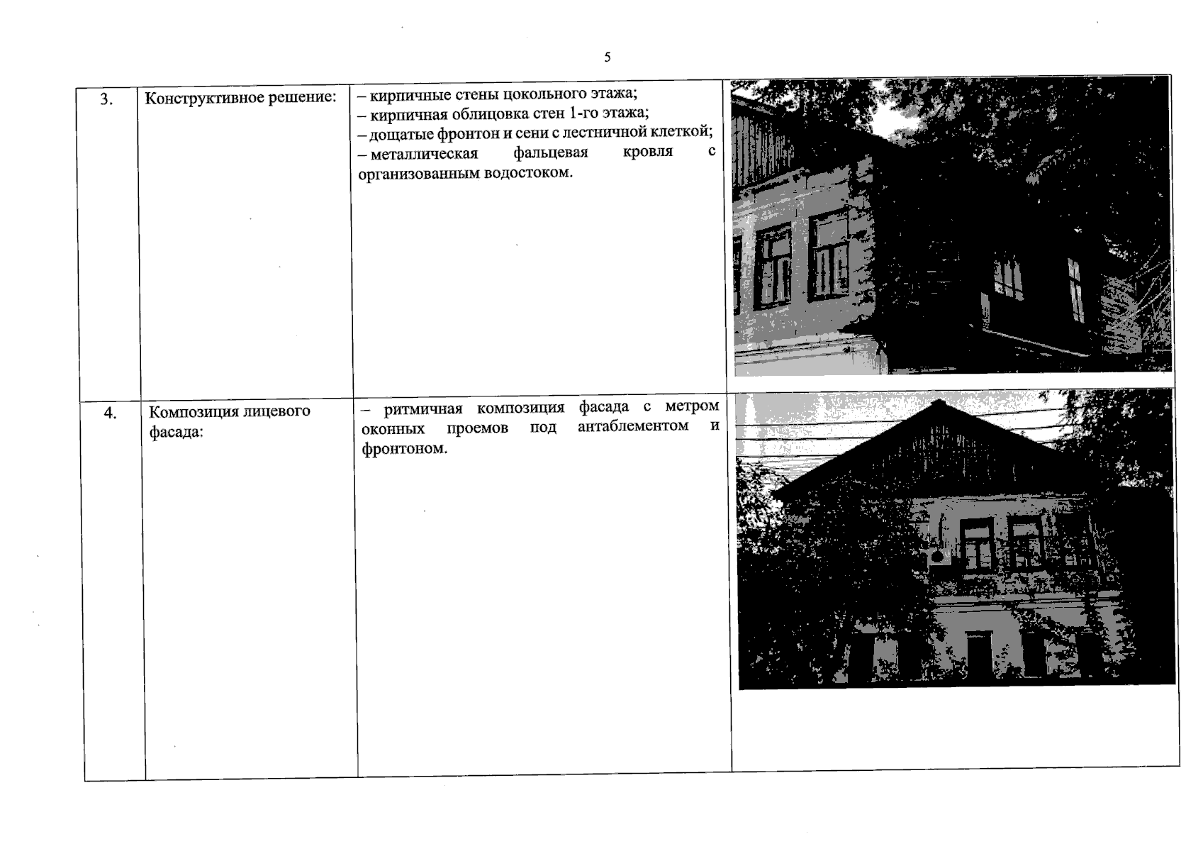
"О включении выявленного объекта культурного наследия в единый государственный реестр объектов культурного наследия (памятников истории и культуры) народов Российской Федерации в качестве объекта культурного наследия местного (муниципального) значения (вид – памятник) "Дом мещан Богдановых", 1903–1904 гг. (Оренбургская область, город Оренбург, Ардатовский переулок, дом 28, Литеры АА1), об утверждении предмета охраны, границ и режима использования территории объекта культурного наследия"
(Зарегистрирован 15.01.2026 № 0003/2026/22)
Номер опубликования: 5601202601150010
Дата опубликования: 15.01.2026
Страница №5 из 12:
Увеличить