Официальное опубликование правовых актов
ОФИЦИАЛЬНОЕ ОПУБЛИКОВАНИЕ
Приказ Инспекции государственной охраны объектов культурного наследия Оренбургской области от 30.07.2025 № 01--33-80
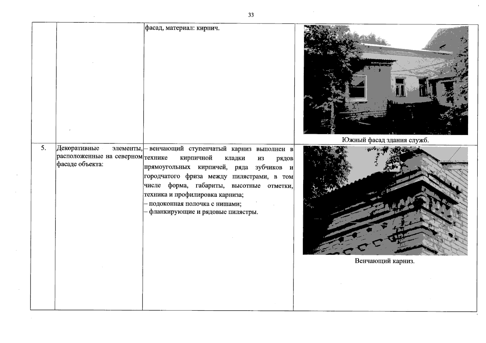
"О включении выявленного объекта культурного наследия в единый государственный реестр объектов культурного наследия (памятников истории и культуры) народов Российской Федерации в качестве объекта культурного наследия регионального значения (вид – ансамбль) "Городская усадьба купчихи П.А. Упыриной", 1870-е гг.; конец XIX века (Оренбургская область, город Оренбург, улица Яицкая, дом 52 / переулок Новый, дом 5, Литеры АБВ), об утверждении предмета охраны, границ и режима использования территории объекта культурного наследия"
(Зарегистрирован 30.07.2025 № 0085/2025/22)
Номер опубликования: 5601202507310003
Дата опубликования: 31.07.2025
Страница №33 из 39:
Увеличить