Официальное опубликование правовых актов
ОФИЦИАЛЬНОЕ ОПУБЛИКОВАНИЕ
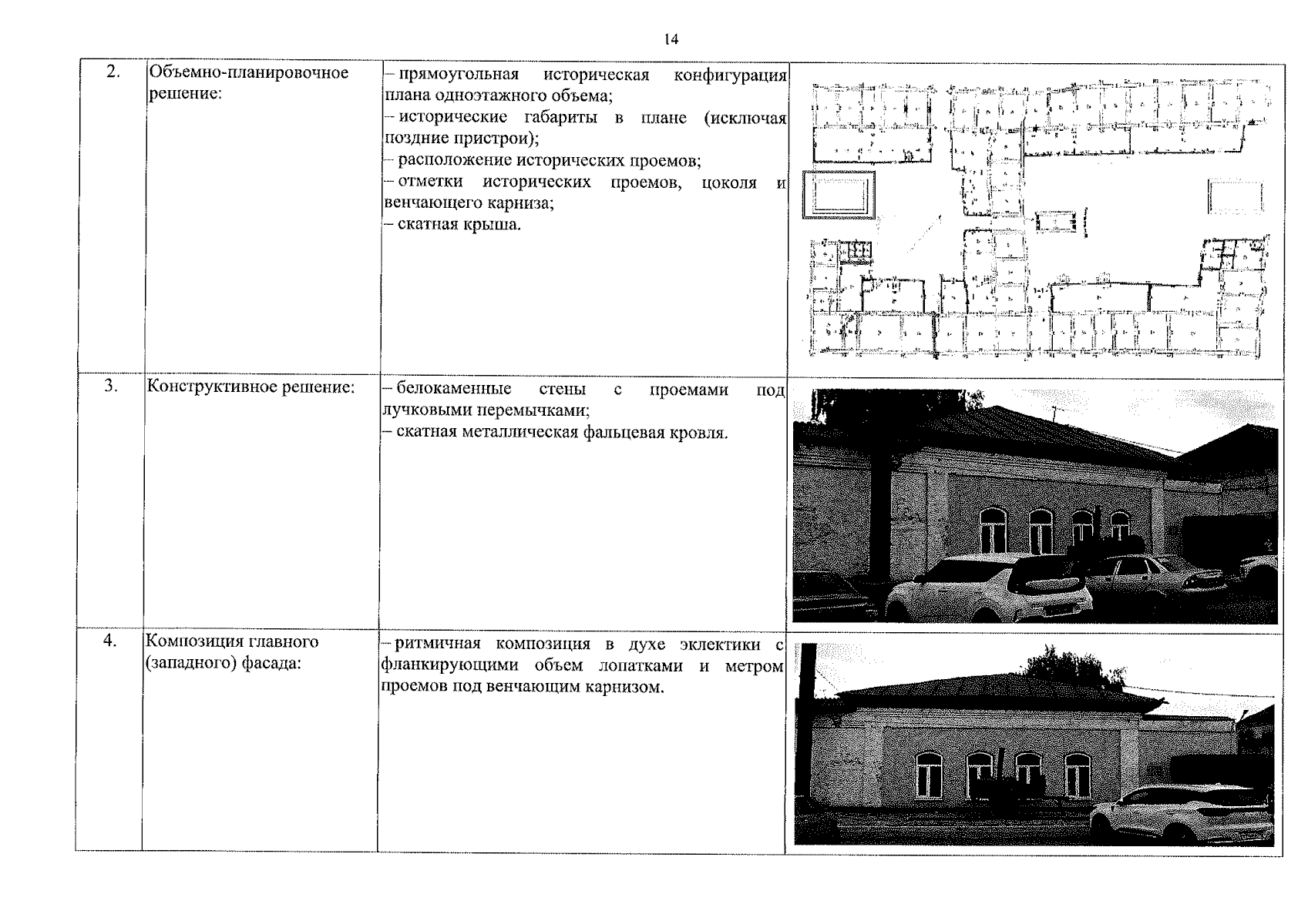
Приказ Инспекции государственной охраны объектов культурного наследия Оренбургской области от 09.12.2024 № 01-08-509
"О включении выявленного объекта культурного наследия в единый государственный реестр объектов культурного наследия (памятников истории и культуры) народов Российской Федерации в качестве объекта культурного наследия регионального значения (вид – ансамбль) "Склады купцов 1-й гильдии Абдулгани и Махмуда Хусаиновых", 1896-1897 годы – рубеж XIX-XX веков, (Оренбургская область, город Оренбург, улица Советская, дом 142, литеры ББ1Б10В1В2В3В4В5В6В7В8НН1в1в2), об утверждении предмета охраны, границ и режима использования территории объекта культурного наследия"
(Зарегистрирован 09.12.2024 № 0202/2024/22)
Номер опубликования: 5601202412100006
Дата опубликования: 10.12.2024
Страница №14 из 23:
Увеличить